Artikelnr.:43849
 
150,72 € *
Am Lager - Sofort verfügbar
150,72 € *
Komplettes Set für die Kupplung von Puch Z50-Motoren mit Handschaltung. Diese wurden z.B. in den Modellen Puch X30 Sport NS / NL und Puch X30 Velux verbaut.

In dem im Set enthaltenen High End Zugbolzen wurde ein speziell angefertigtes Schrägkugellager verbaut. Dieser verfügt über einen Kontaktwinkel von 60° und ist für höchste Belastungen ausgelegt. Der Zugbolzen ist essentiell für die Verwendung der verstärkten swiing-Kupplungsfedern.

Wichtige Hinweise zur Einstellung der Kupplung:

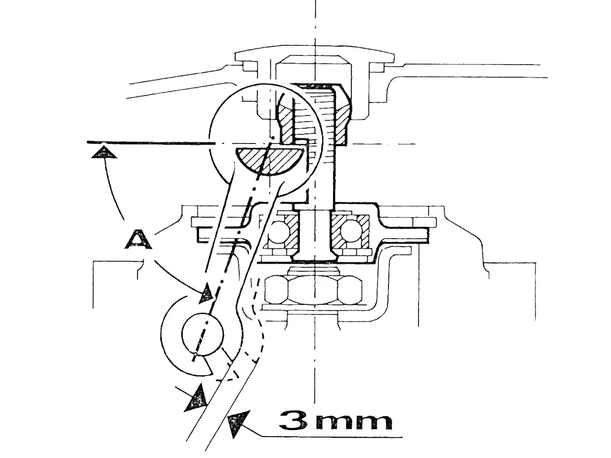
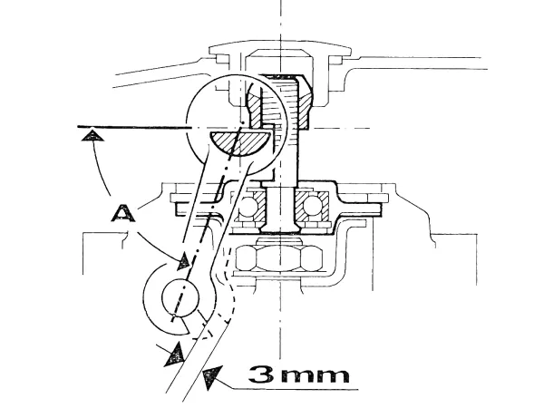
In Bild 3 ist die Stellung des Kupplungshebels zum Widerlager und die Kugelbundmutter zur Entkupplungswelle dargestellt. Diese Einstellung ergibt den maximalen Ausrückweg bei geringstem Kraftaufwand. Besonders auf das Spiel zwischen Kupplungswelle und Kegelbundmutter ist ein Augenmerk zu richten, da bei zu geringem Spiel unweigerlich das Kupplungslager in kürzester Zeit kaputtgehen wird. Bei eingehängtem Kupplungsseil soll der Leerweg am Kupplungshebel ca. 3 mm betragen.

Der Winkel "A" am Bild beträgt hierbei 58°. Am Handhebel ergeben diese Spiele einen Leerweg von ca. 1 cm.
Kupplungsset verstärkt swiing
Bewerte jetzt diesen Artikel und schreiben uns Deine Meinung.